--------------------------
Go to homepage

einfach besser Landwirtschaften

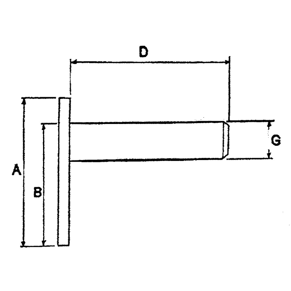
Bolt with lug galvanized
Bolt with tab galvanized, there is an additional hole in the tab to secure the bolt against twisting or loss
A (mm): 75
B (mm): 67
D (mm): 125
G (mm): 25
There are no downloads available for this article
Faie Handelsgesmbh
Handelsstraße 9
4844 Regau

0 of 0 reviews

Leave a review!

Share your experiences with other customers.


Please enter a valid email address.
Please enter a valid question.
This site is protected by reCAPTCHA and the Google Privacy Policy and Terms of Service apply.
Fields marked with * are mandatory.

There aren't any asked questions yet.
#FA127888
Low-maintenance plain bearing CSB20 made of metal-polymer composite with lubrication pockets
Metal-polymer plain bearing CSB20 to ISO 3547 (DIN 1494) with embossed lubrication pockets in a low-maintenance design. The plain bearing bushes are equipped with a low-maintenance sliding material for use in mixed friction applications with grease or oil lubrication. This means that the plain bearings must be lubricated with grease or oil. A hole is provided on the plain bearing for this purpose. The embossed lubrication pockets can optimally absorb the lubricant (grease, oil).The plain bearing bushes are characterised by high wear resistance, low friction and good damping properties. The bushings are also insensitive to shocks. The low friction coefficients, good wear resistance and reliable load capacity of the bearing ensure suitable use in rotating and oscillating movements.The range of applications for plain bearing bushes extends to agricultural equipment, construction machinery, industrial trucks, lifting equipment, hydraulic cylinders and motors as well as steering knuckle bearings, steering gears, power steering and pedal bearings.

Variants from €2.50*
€1.50*

Customer card PLUS benefits

Icon

Free shipping for a
whole year! *

Icon

Service today
included!

Icon

36 months
Long-term guarantee.

Icon

Payment on request
with invoice - also
for new customers

Discover the many advantages of the FAIE customer card PLUS.

Learn more

€10 voucher.

If you sign up for our newsletter.
You will receive €10 for free with your next purchase.

This site is protected by reCAPTCHA and the Google Privacy Policy and Terms of Service apply.

Can we help you?

You can find our contact options here:

Icon

WhatsApp

write to us
Write to us via WhatsApp

Icon

Instagram

to Instagram
Visit us on Instagram

Icon

Costumer service

+43 (0) 7672 716 0
Call us

Icon

Contact form

to the contact form
Write directly to our costumer service